Полихроматические перестраиваемые акустооптические фильтры серии AOTF 2885-04 компании GOOCH&HOUSEGO, предназначенные для пропускания оптического излучения в спектральном диапазоне длин волн от 430 -670 нм.
Перестраиваемый фильтр серии AOTF 2885-04 изготовлен из диоксида теллура (TeO2), с преобразователем из ниобата лития (LiNbO3), специально разработан для селекции лазерных линий. Активная оптическая апертура 2.5 мм.
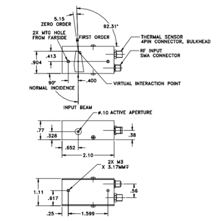
Фильтр был разработан таким образом, что выходной дифрагированный свет будет оставаться коллинеарным при всех видимых длинах волн.
Модулятор в сборе должен быть установлен на зажимном приспособлении (зафиксирован), чтобы обеспечить достаточную регулировку с целью повышения до пика эффективность модуляции.
Общая входная ВЧ мощность не должна превышать 3 Вт в непрерывном режиме (CW).
В дополнении к указанной спецификации мы также можем предложить альтернативные длины волн, частоты модуляции, активные апертуры и широкий спектр индивидуальных конфигураций корпуса .
Применение
- Селекция длин волн
|
Параметр |
Значение |
Ед. измерения |
|
Материал |
диоксид теллура |
|
|
Спектральный диапазон |
430-670 |
нм |
|
Частота |
80-125 |
МГц |
|
ВЧ полоса пропускания (FWHM) |
1115 |
кГц при 515 нм |
|
Вносимые потери |
3 |
% |
|
Вх. оптическая поляризация |
вертикальная |
|
|
Вых. оптическая поляризация |
горизонтальная |
|
|
Коллинеарность дифрагированного пучка, среднее отклонение |
0,01 |
градус |
|
Активная акустическая апертура |
2,5 |
мм |
|
Максимальная ВЧ мощность |
3 |
Вт |
|
Температурная чувствительность |
0,05 |
нм/С |
|
Входное сопротивление |
50 |
Ом |
|
Коэффициент стоячей волны по напряжению |
2,4:1 |
|
|
Разрешение по полосе пропускания |
4 |
нм |
|
Дифракционная эффективность |
90% |
|
|
Корпус |
97-02885-04-15r1 |
|
Все покупки на сайте осуществляются с помощью безналичной оплаты.
Все платежи для физических лиц осуществляются через сервис Paykeeper.
Также возможно оформление счета для оплаты от юридического лица (мы работаем с НДС).
Подробная информация на странице «Условия оплаты».

Мы доставляем грузы несколькими транспортными компаниями, подробнее узнать о которых вы можете в разделе «доставка».
Выбрать вариант доставки вы можете при оформлении заказа на сайте, либо связавшись с менеджером
Срок поставки менеджер уточнит после оформления заявки.